电力安全工器具试验机主要检测电力安全带的拉力性能、电力脚扣、升降板、安全帽的压力性能。济南铂鉴试验机厂家为您介绍详细的试验步骤:
1、电力安全带拉力试验方法:(静负荷试验)
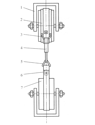
用拉力试验机进行试验,连接形式见图,拉伸速度为100mm/min,根据表中的种类,施加对应的静拉力,载荷时间为5min,如不变形或破断,则认为合格。
安全带的试验项目、周期和要求:
序号 | 项目 | 周期 | 要 求 | 说 明 | ||
1 | 静负荷 试验 | 1年 | 种类 | 试验静拉力 N | 载荷时间 min | 牛皮带试验周期为半年 |
围杆带 | 2205 | 5 | ||||
围杆绳 | 2205 | 5 | ||||
护腰带 | 1470 | 5 | ||||
安全绳 | 2205 | 5 | ||||

2、电力脚扣压力试验方法:
将脚扣安放在模拟的等径杆上,用拉力试验机对脚扣的踏盘施加1176N的静压力,时间为5min,卸荷后,活动钩在扣体内滑动应灵活,无卡阻现象,其他受力部位不得产生有足以影响正常工作的变形和其他可见的缺陷。
脚扣的试验项目、周期和要求:
序号 | 项目 | 周期 | 要 求 | 说 明 |
1 | 静负荷试验 | 1年 | 施加1176N静压力,持续时间5min |

3、升降板压力试验方法:(重静负荷试验)
将升降板安放在拉力机上,其试验如图所示。施加表规定的静压力,加载速度应均匀缓慢上升,在规定的静压力下载荷时间为5min如图杆绳不破断、撕裂,钩子不变形,踏板无损,则认为试验通过。
升降板的试验项目、周期和要求:
序号 | 项目 | 周期 | 要 求 | 说 明 |
1 | 静负荷试验 | 1年 | 施加2205N静压力,持续时间5min |

4、安全帽压力试验方法:
在常温下将安全帽侧向放在两平板之间,帽沿伸出平板之外,但紧靠帽壳底边,压力机通过平板向安全帽加压(见图),先加29.4N,保持30s,测两板间距离,此距离称为初始值,然后以每分钟增加98N的速度加载直至421.4N,保持30s,测量并计算此时两板 间距离与初始值的差,即为最大变形值,然后减至24.5N,紧接着升至29.4N,保持30s,测量并计算两板间距离与初始值的差,即为残余变形值。
与铂鉴试验机厂家合作,为您的电力安全工器具测试找到合适的检测设备!
上一篇:预埋槽道疲劳试验步骤
Copyright 2010-2017 siyuan. All Right Reserved备案号:鲁ICP备14010418号-12